[time-nuts] NIST isolation amplifiers

Charles Steinmetz csteinmetz at yandex.com
Tue Nov 25 14:34:56 EST 2014


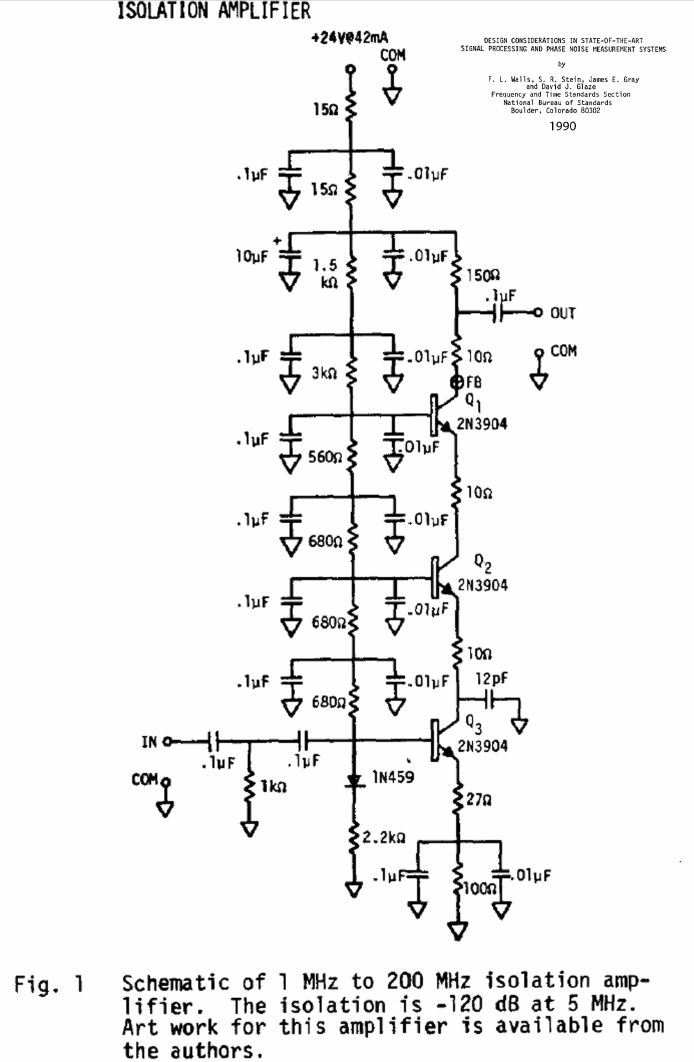
A couple of people were asking about NIST isolation amplifiers 
recently.  I'm attaching circuit diagrams of the 5-10 MHz amp from 
1997 and the 1-200 MHz amp from 1990.  I think Bruce has the papers 
linked at his ko4bb.com pages.

I built some of the 5-10 MHz amps with minor variations and they work 
very well (I used a separate capacitance multiplier for the base 
divider string, and changed the first 4.3k resistor to 6.65k to 
achieve symmetrical clipping and a small increase in headroom).  I 
used 2N3904s for the two lower transistors and a 2N2219A for the top 
transistor, which dissipates over 300mW.

I tried some fancy transistors with very low base spreading 
resistance, which reduced the noise -- but the increased junction 
capacitance made the AM to PM conversion worse, so the overall 
residual PM was worse.  On the other hand, GHz transistors had higher 
noise due to lower gain.  So the 3904/2219A combination appears to be 
just about optimum.  (Note that the 200 ohm resistor at the input 
contributes about half of the circuit's noise, and you can't use the 
Norton trick because it would ruin the isolation.)

The transistor stack draws 32mA and the base divider stack draws 
~1.5mA.  The amplifiers have an input impedance of 250 ohms, so 
paralleling the inputs of 5 sections creates an overall 50 ohm input 
impedance.  When a circuit has reverse isolation of well over 150dB, 
as this one does, you need to pay very careful attention to shielding.

Best regards,

Charles

-------------- next part --------------
A non-text attachment was scrubbed...
Name: NIST_200_iso.png
Type: image/png
Size: 185611 bytes
Desc: not available
URL: <http://www.febo.com/pipermail/time-nuts/attachments/20141125/505c047b/attachment-0002.png>
-------------- next part --------------
A non-text attachment was scrubbed...
Name: NIST_5_10_iso_amp.png
Type: image/png
Size: 162801 bytes
Desc: not available
URL: <http://www.febo.com/pipermail/time-nuts/attachments/20141125/505c047b/attachment-0003.png>


More information about the time-nuts mailing list